16+ Bobcat Mt85 Parts Diagram


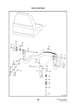
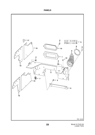
Bobcat S175 S185 Skid Steer Loader Parts Catalogue Manual S N 5190 28001 Above Pdf


Bobcat Mt85 Parts Easy Online Ordering Free Shipping


Bobcat Mt85 Mini Track Loader Parts Catalog Manual


Parts Service Bobcat Company


Bobcat S175 S185 Skid Steer Loader Parts Catalogue Manual S N 5190 28001 Above Pdf


Bobcat 853 Skid Steer Loader Parts Catalogue Manual Sn 508418001 Above By F78se98diid Issuu


Kubota La854 Front Ldr L4240 4740 5040 5240 5740 Parts Diagrams


Bobcat S185 Skid Steer Loader Parts Manual Reprinted Comb Bound 29 99 Picclick Uk


Bobcat Mt85 Pins Bushings And Seals Kit Concepts2creations


Bunton Bobcat Ryan Fm 61s All 61 Front Mount Parts Diagrams


Bobcat Mt85 Parts Easy Online Ordering Free Shipping


Bobcat S185 Skid Steer Loader Parts Manual Reprinted Comb Bound 29 99 Picclick Uk


Bobcat S185 Skid Steer Parts Manual Pdf Download Heydownloads Manual Downloads


Bobcat Mt85 Parts Easy Online Ordering Free Shipping


Bobcat S175 S185 Skid Steer Loader Parts Catalogue Manual S N 5190 28001 Above Pdf


Bobcat S185 Skid Steer Loader Parts Manual Reprinted Comb Bound 29 99 Picclick Uk


Bobcat S175 S185 Skid Steer Loader Parts Catalogue Manual S N 5190 28001 Above Pdf


Case Ih 85xt Case Skid Steer Loader 09 97 12 05 Parts Diagrams

Iklan Atas Artikel

Iklan Tengah Artikel 1

Iklan Tengah Artikel 2

Iklan Bawah Artikel